oder

oder

« Zurück zur Übersicht
Drehverschluss-Typ-TDK-Klebemontage-Nylon-natur

TDK Drehverschluss

Merkmale

  • Klebemontage
  • Material: Nylon 66, UL94V-2
  • Farbe: natur

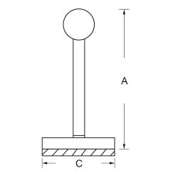
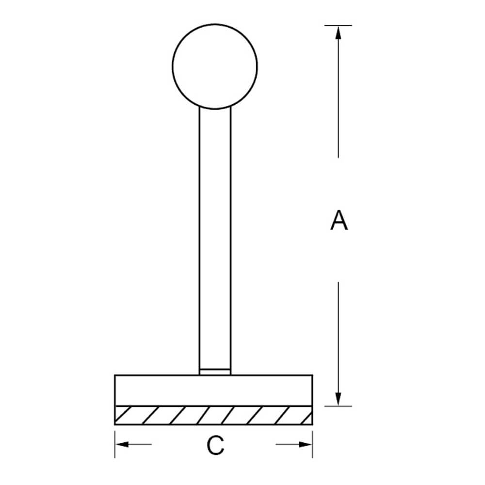
Technische Zeichnungen

Abmessungen in mm

Produktvarianten

Typen, Maße und weitere Daten (Typ TDK)
Art.-Nr.TypA (mm)B (mm)C (mm)ØD (mm)max. Bündel-Ø (mm)Datenblatt
2201931TDK-828,024,813,09,28,2 Anfrage
2201932TDK-1031,221,019,010,810,0 Anfrage
2201933TDK-2240,725,513,021,019,0 Anfrage
2201934TDK-1334,725,022,014,713,0 Anfrage
Typen, Maße und weitere Daten (Typ 321-7000-600)
Art.-Nr.TypA (mm)B (mm)C (mm)ØD (mm)max. Bündel-Ø (mm)Datenblatt
2201942321-7000-60030,016,021,015,210,4 Anfrage

Produktneuheiten

Unsere Services

Sie wünschen Beratung?

Wir freuen uns, wenn Sie mit uns Kontakt aufnehmen. Wir unterstützen Sie gerne!


THORA ist ISO 9001:2015 zertifiziert!