oder

oder

« Zurück zur Übersicht
Rundkabelhalter-Typ-RKR-Nylon-natur

RKR Rundkabelhalter

Merkmale

  • Klebemontage
  • mit Rastverschluss, wiederlösbar
  • Material: Nylon 66, UL94V-2
  • Farbe: natur (auch in schwarz erhältlich)

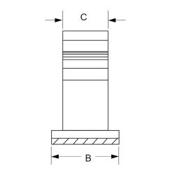
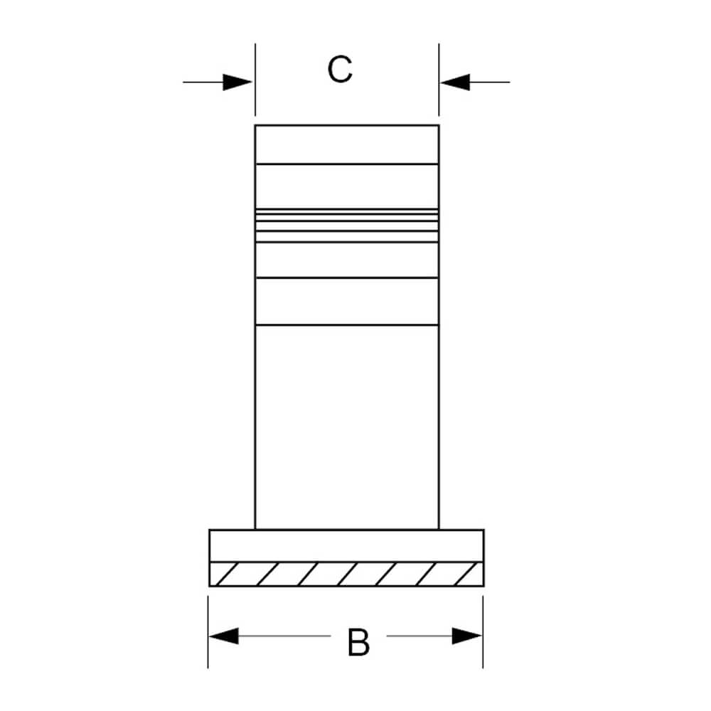
Technische Zeichnungen

Abmessungen in mm

Produktvarianten

Typen, Maße und weitere Daten
Art.-Nr.TypA (mm)B (mm)C (mm)ØD (mm)Datenblatt
2200150RKR-124,818,810,27,9 - 10,3 Anfrage
2200151RKR-225,415,010,011,0 - 13,3 Anfrage
2200152RKR-330,215,010,011,9 - 14,3 Anfrage
2200156RKR-731,819,110,211,9 - 14,3 Anfrage
2200153RKR-434,418,812,714,7 - 19,1 Anfrage
2200154RKR-536,019,012,718,0 - 22,0 Anfrage
2200155RKR-639,819,813,022,0 - 26,5 Anfrage

Produktneuheiten

Unsere Services

Sie wünschen Beratung?

Wir freuen uns, wenn Sie mit uns Kontakt aufnehmen. Wir unterstützen Sie gerne!


THORA ist ISO 9001:2015 zertifiziert!